来源:网络转载更新时间:2021-01-09 14:33:25点击次数:3492次
1前言
非连续累计秤是一种利用称重传感器和称重仪表结合,通过快速检测出物体的重量,经仪表的运算处理后,做出相应动作的称重设备。称量原理是:把一批散料分成不连续的载荷,依次称量每份不连续载荷的质量,累计称量结果,并将不连续载荷卸出的一种自动衡器。其特点是较皮带秤称量准确度高。因此,在国内外港口散装粮食的进出口贸易中得到广泛应用。以往使用皮带秤但是效果不理想的场合,以及计量准确度要求较高维护量小的称量场合,都有大量需求。与一般的称重仪表不同,这是典型的智能仪表,涉及到复杂的逻辑运算,仪器仪表的高速小信号测量与处理,自动控制等多项技术。
2系统构成
上海某称重系统有限公司(以下简称“上海某”)研发生产的XK3190-C606+称重显示控制器是一款具有多种网络接口的高速包装秤仪表,采用CortexM3内核的32位ARM处理器及高精度Σ-△A/D转换器件,对重量信号进行转换显示,最高可达200次/秒的转换速度。内置了非连续累计秤(也叫散粮秤)工作模式,非常适合使用在各种仓储、港口、石油化工、煤炭、水泥、粮油、饲料、油脂加工等行业和部门中进行的散料收货和发货的计量,入仓,装车、装船的定量装料,化工、水泥加工的配料控制,粮油、饲料、油脂加工的流量控制。
为了更细致形象的对XK3190-C606+(以下简称“C606+”)的非连续累计秤工作模式做介绍,我们结合一个实际使用案例来展开详述。该使用现场是由福建某自动化企业负责总包和实施,选用了上海某C606+作为现场仪表来实现物料的非连续累计工作。现场系统示意图如图1所示。

从图1中我们可以看出,用户是在中控室内操作运行有WinCos工厂控制系统的工控计算机,通过PROFIBUS-DP总线远程监控与控制与之相连的C606+;同时要求现场的称量数据记录在仪表本地生成并备份保存,不可篡改。为方便结算,所有称量数据记录亦可通过U盘导出备份。
3系统的实现
上海某经过分析评估用户需求,利用现有C606+仪表,仅少量修改PROFIBUS-DP总线数据格式及GSD文件与WinCos相适应后,便完美的应用于客户使用现场。具体应用细节如下。
3.1非连续累计秤工作过程描述
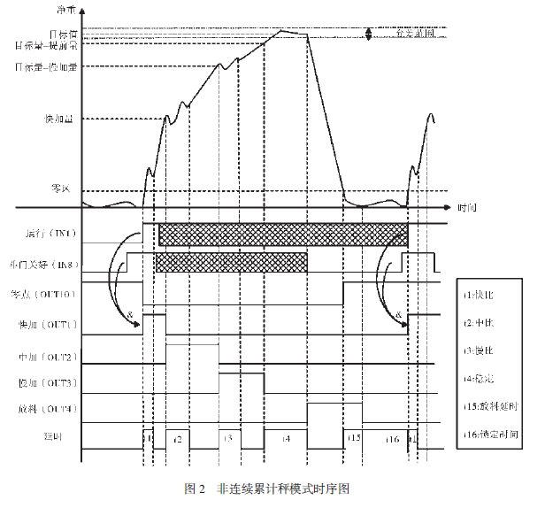
在本案例中,根据图1所示系统需要,我们配置了C606+的上、下料位检测,斗门检测以及吨包和总重的功能。接下来用一张控制时序图来分析具体过程,如图2所示。
结合图1和图2我们可以看到,C606+通过控制计量斗的进、出料门,实现了将一批散料分成不连续的载荷,依次称量每份不连续载荷的质量(也就是重复执行图2),累计称量结果,并将不连续载荷卸出的功能。其中的上、下料位检测,防止了来料中断,卸料物料堆尖的异常工况。斗门检测确保了计量斗的卸料门可靠关闭,防止了计量斗的溜料造成计量误差。总重功能则自动判断累计重量与总重之差,如小于定量值,定量取差值;如小于2倍定量值,定量取差值的1/2。
3.2远程通讯与控制
在本案例中,用户采用的是远程集控方式,在中控室内操作运行有WinCos誖工厂控制系统的工控计算机来监控与控制现场C606+,物理链路采用的是PROFIBUS-DP总线。(关于WinCos誖工厂控制系统:这是由瑞士布勒集团制定的一种工厂控制系统,可控制从谷物加工、饲料生产到油漆和印刷油墨生产等各种领域的生产过程。它是一种高品质的全面系统,可兼容所有常用接口。集加工技术和自动化于一体,有助于用户始终维持最高生产标准)。由于WinCos誖工厂控制系统对于连续和非连续累计秤已经有了一套固定的数据格式交换机制,而上海某生产的标准C606+仪表仅考虑常用的毛、皮、净重量的浮点数上传和清零、除皮的简单操作,并没有为WinCos誖工厂控制系统散粮秤而特别设计数据格式,所以我们根据WinCos誖工厂控制系统相关资料重新改制了C606+仪表的软件,修改了C606+的PROFIBUS-DP总线的数据格式及GSD文件。从而让用户在工控机上轻松实现对C606+仪表的远程数据监控、累计重量获取、设定、启停、清空、尾秤处理等功能。

3.3工作记录的备份和导出
对于一套计量系统来说,称量数据的准确可靠是整套系统的核心所在。C606+仪表在这部分的设计和考虑非常严谨、细致。非连续累计秤模式下,每一份载荷的称量结果都是由仪表在称量完毕后自动存储备份,并且提取仪表本地的时钟为每条称重数据附上时间戳,从而实现了每条称重数据的可追溯性。现场的操作人员可以在仪表本地进行查询,但无法修改仪表内已经生成的工作记录。当用户需要做数据统计工作时,可以用USB接口的移动存储介质连接到C606+仪表的USB主设备接口,将C606+仪表内的全部工作记录以文本格式的文档拷贝至USB接口的移动存储介质内。具体记录如图3所示。

C606+仪表考虑到为了方便办公软件的编辑,已经为需要拷贝的文档添加了合适的换行和分隔符。我们以MicrosoftExcel2003誖为例,通过其外部数据导入”功能,将C606+仪表的工作记录导入电子表格后如图4所示。导入称重工作记录至电子表格后,可以利用其强大的数据分析统计和图表生成功能做更细致的数据处理工作,大大减轻了用户的手工数据统计分析的工作强度。

4结束语
通过对C606+仪表追加少量的定制工作,投入使用现场安装调试,经后续试车与日常运行,C606+仪表均良好的满足了项目施工方和甲方的使用需求,为用户提高了生产管理的效率和科技含量。
本文源于网络转载,如有侵权,请联系删除
深圳市卓禾仪器有限公司是一家专门从事称重仪表研发及生产的高新技术企业,所生产的JY500系列称重显示控制器(包括配料秤仪表、皮带秤仪表、包装秤仪表、重量变送器等)高速高精度,使用寿命长。卓禾仪器有十数年的现场校验经验,在业内有良好的口碑,且有专门的售后工程师帮忙解决产品使用过程中遇到的技术问题,客户可以放心省心顺心的使用我司的产品。如果对我司的产品感兴趣,欢迎咨询。
×