来源:网络转载更新时间:2020-11-03 11:59:27点击次数:3282次
前言
称重仪表的前向通道是称重仪表的重要组成部分,它的性能好坏直接影响着仪表的性能。因此,在设计称重仪表时,前向通道的设计乃是整个系统设计的重点。称重仪表的前向通道包括前置放大器、A/D转换器两部分。下面着重谈谈这两部分的设计。
一、前置放大器的设计
我们知道,称重传感器的输出信号是一个非常微弱的共模信号,而一般的A/D转换器并不能识别和处理共模信号和非常微弱的电压信号。因此,在设计前置放大器时,就要求前置放大器必须有很高的共模抑制比以及高增益、低噪声和高输入阻抗。称童仪表的工作环境各种各样,为了避免仪表受温度的影响,要求前置放大器有较好的温度系数。如果前置放大器的输出不稳定,将直接影响称量结果。在一般的称重及表中所采用的前置放大器有以下几种:
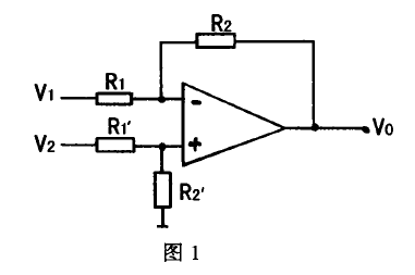
1.由单只运算放大器组成测量放大器,这种由一只运算放大器组成的前置放大器如图(1)所示,这种放大器准确的说应该叫做差动放大器,若R1=Rl、R2=R2′,则其放大倍数Av=R2/R1(V2-V1)在要求不太高的场合,能满足一定的设计要求。它的特点是,结构简单,成本较低。缺点是它的共模抑制比不够高,这是因为,它的共模抑制比依赖于电阻R1、R1′,、R2、R2′,的配合,如果这些电阻一致性较差,就容易产生误差。它的另一个缺点是输入阻抗不能很大,放大倍数容易受传感器输出阻抗的影响。我们知道,传感器的输出阻抗一般在500Ω左右,R1、R1′,必须为数十K才可将传感器的输出阻抗忽略。采用这类电路,一般都选用性能较好的运算放大器,比如OP07、OP177、ICL7650等。
2.由三运放组成的仪用放大器,是一种比较理想的前置放大器。它的构成见图2,它的电原理图可知,它的放大倍数Av=(2R1/RG+1)R3/R2)碧只要运放性能KGKZ
对称,其漂移将大大减小,并具有很高的输入阻抗和高共模抑制比,在测量系统中它是一种较为常用的一种放大器。缺点是结构较复杂,并且第二级差动放大器四个电阻的精度也要求很高,因为本电路增益误差和共模抑制取决于R2、R2′,、R3、R3′,的匹配比率。在一定限度内可在前级获得所希望的高增益,同时并不会增加共模误差。


3.集成测量放大器采用厚膜工艺制成模块形式,只需要很少的外接元件,不需要精密的电阻匹配,仅需一到两个精密电阻就能达到较高的增益。这类电路性能稳定,共模抑制比较高。较常见的集成测量放大器有AD620、AD521、AD522等。釆用集成测量放大器电路结构简单,非常适合称重仪表,但成本相对较高,这类集成测量放大器售价一般需数十元。
二、A/D转换器的设计与选用
我们知道,计算机不能识别模拟信号,信号进入计算机以前,必须将它转换成计算机能够处理的数字信号,即A/D转换。A/D转换器是测控系统的关键部件,它直接影响系统的精度和测量速度。在一般测控系统中,A/D转换器将输入信号转换成与基准电压成比例的数字信号,然后,进行处理。但称重仪表釆用的A/D转换器跟其他仪表的A/D转换器有所不同,其他仪表一般都要求以基准电压为标准,转换结果与输入电压成严格的对应关系,即输入信号为多高电压,输出就必须是相应的电压值。而称重仪表的A/D转换器并不一定以标准电压作基准,而可以以传感器加标准祛码时的输出作基准,因此,只要A/D转换器的结果与传感器所加硃码正比,有足够的分辨率,且较好的线性就能满足要求。目前,常见的A/D转换器从转换方式分有:逐次逼近式、积分式两类。逐次逼近式A/D转换器转换速度快,如果再要求较高的精度,那么其价格将是非常昂贵的,一般只应用在实时控制系统,比如定量包装秤等。积分式A/D转换器转换速度较低,但价格低廉,结构简单,抗干扰能力强,精度较高。一般称重仪表对转换速度要求不高,大都采用积分式A/D转换器。而对于包装机用称重控制器,积分式A/D转换器就显得力不从心。
1.积分式A/D转换器
积分式A/D转换器是测控系统中最常用的A/D转换方式,种类也比较多,如单积分型、双积分型、多积分型、电荷平衡型等。积分式A/D转换器可以以较低的成本做到较高的分辨率,其基本原理是将输入电压按比例转换为对应时间间隔,然后,将时间间隔通过定时器或计数器转换为与其成正比的数字量。这种A/D转换器的优点是对工频抗干扰能力强,其精度与元件的固有误差无关,所以相对来说转换器的精度比较高,缺点是转换速度较低。目前比较常见的产品有MC14433,ICL7109,DG7126,ICL7135等。
2.逐次逼近式A/D转换器
在称重仪表中一般不釆用逐次逼近式A/D转换器,原因是一般衡器并不要求进行实时控制,而以精度和可靠性作重点,并且,逐次逼近式A/D转换器要达到称重仪表所要求的分辨率,成本非常昂贵。逐次逼近式A/D转换器常用于实时控制系统。常见的逐次逼近式A/D转换器8位的有ADC0808、ADC0809等,10位的有ADC1210、ADC1211等,12位的有AD574.MAX178等。其中,8位、10位A/D转换器属于低分辨率A/D,很少用于称重控制系统,12位A/D转换器属于中等分辨率,可用于某些特殊的称重控制系统,比如称重式定量包装机。16位以上逐次逼近式A/D转换器属于高分辨率A/D,其价格非常昂贵,很少采用。
3.其它形式的A/D转换器
除了上述两种A/D转换方式还有△-£方式、多次积分、V/F转换等方式。这些转换方式其实多数是双积分式A/D转换器的变形或改进。象△-£、多次积分转换方式,经过改进,其转换速度比传统的双积分转换方式的转换速度已有很大提高,如MAXIM公司的MAX132、AD公司的AD7703,AD7710.AD7715等,其转换速率可达数十次到100次每秒,其分辨率甚至高于传统双积分转换方式。以左-£方式的转换器目前市场已有芯片出售,比如常见的有AD7703,AD7715等。这类芯片比较适合称重控制器。
4.A/D转换器的设计与选用原则
目前国内生产称重仪表的厂家很多,所采用的A/D转换方式也不尽相同。除了前面提到的逐次逼近式转换器较少釆用外,其余几种转换方式在仪表
的设计生产中都有应用。近年来,△-£转换技术在仪表中应用较多,因为这种转换方式不仅具有较前置放大器所处理的信号,就是称重传感器输出的微弱的电压信号,它很容易受到其它干扰,在强的抗干扰性,而且也具有很高的分辨率和较高的PCB布线时应将其远离干扰源。为了防止工频干转换速度。对于A/D转换器的分辨率的选择,笔者以为,满足设计要求即可,没有必要苛意追求很高的分辨率,很高的分辨率并不是保证仪表分辨率的唯一条件,因为A/D转换器的输出反映的是放大器的输出,而放大器的输出不仅取决其本身的各项参数(比如,运算放大器的共模抑制比、输入温漂、输入失调电压等),而且与系统电源的稳定也有着直接的关系。因此,要想提高仪表性能,除了A/D转换器的分辨率外,还要综合考虑各方面的因素,比如要充分保证前置放大器及其电源的各项指标都满足设计要求。根据笔者的经验,16位以上到20位的A/D转换器就能满足一般称重仪表的要求。对于实时称重控制器,甚至12位的A/D也能满足要求,比如,称重式包装机,有很多厂家采用的就是12位的高速A/D转换器AD574O
三、前向通道在PCB板上的布线原则
前置放大器所处理的信号,就是称重传感器输出的微弱的电压信号,它很容易受到其它干扰,在PCB布线时应将其远离干扰源。为了防止工频干扰,放放大器要远离系统电源,有条件的话,要将电源与系统分开。放大器的输出应尽量靠近A/D转换器的输入,防止引入其它干扰。布线时,模拟信号线尽量走直线,输入回路与输出回路尽量远离。对于传感器到放大器的输入端,如有可能可增加屏蔽环来提高其抗干扰性。在焊接元器件时,应将元件表面清理干净,避免虚焊。为了避免受空气湿度的影响,放大器电路应做防潮处理。
四、结束语
目前,国产仪表同国外仪表相比,还存在一定差距,随着科技的进步和广大科技工作者的不断努力,在不远的将来,我们一定能赶超世界先进水平。
文章来源于网络转载,侵删
×